This command allows a cross section to be created from an existing view.

 

Creation stages:

 

Click the icon or select the command View > Cross section... from the drop-down menu.

 

  1. Select the cross section polygon type or choose the Existing cross section polygon option (see Available Options paragraph for more details):

Manual: Allows to create an horizontal or vertical cross section polygon or a contour (the start and end segments of the contour must be parallel).

Like: Allows to create the cross section polygon on another view on the condition that the directions of the two views are parallel.

  • Internal: The cross section polygon is in the draft. Choose the cross section polygon.

  • External: The cross section polygon is in other draft. Choose the source document and the reference cross section sketch in the drop-down menu.

Profile geometry, cutting depth, cross section type (standard, aligned section, ...) partial or complete cross section and text position, if it is manually moved, are recovered. The style of polygon cross section is the default style of the document.

Once the polygon is created, the contextual command Make Manual makes it independent of the reference polygon.

 

  1. Select the cross section polygon type:

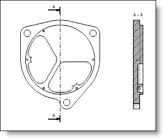
Standard: allows to create an horizontal or vertical cross section or a cross section using a cross section polygon created by the contour command.

 

 

Standard cross section example

 

 

Aligned section.

 

 

Aligned section example

 

 

Revolved section.

 

 

Revolved section example

 

 

Cut:

 

Allows to create a view using the graphical cut defined in the projected document.

The cross section is created regarding the first cut defined in the cuts folder.

The view orientation is defined by the graphical cut plane.

 

Definition occurrence:

Allows to recovered a graphical cut in the occurrence families.

 

 

  • It isn't possible to change afterwards the graphical cut used in the view.

  • For the title text, there is a snap to capture characteristic points (center, left, right, ...) during its displacement. By using the "Alt" key when moving the text, the snap is deactivated.

 

 

  1. Select the reference view.

  2. Select the set to project. Usually, we use the same set than the set projected in the main view, but for some TopSolid'Mold needs, it is possible to use another set.

  3. Click the blue arrow to define the Cross section Polygon.

 

 

  • If the plan only contains a single view, it is not necessary to select it. The command directly proposes the creation of the cross section polygon.

  • Double clicking an arrow that defines the direction of the cross section allows the latter to be reversed.

  • The indexes of a cross section polygon can be moved.

  • Double-click the "complete" label to switch to a partial cross section.

  • You can modify the cross section once it is validated by using the Edit Cross section polygon popup command.

  • To be able to use an existing polygon, several prerequisites are requires:

  • The direction of camera of the reference view should be parallel.

  • The references views of cross section must have the same source document in the set to be projected.

 

 

When creating a cross section polygon, the drilling axes are detected and allow quicker adhesion.

 

 

 

Available Options:

 

Existing cross section polygon: This option allows you to use a cross section polygon created with the Cross Section Polygon... command.

This cross section polygon can have been defined in the same document (Internal mode) or in another document (External mode).

 

Configuration of the cross section:

 

 

 

Cross section view:

 

 

 

 

 

 

      • Grid:

       

      • Magnetization: The magnetization is a hook factor regarding the entered step. If the step is 10mm and the magnetization is 2, detailing elements and dimensions of the view can be moved every 5 mm. If the step is 10mm and the magnetization is 10, detailing elements and dimensions of the view can be moved every mm.

      • Coordinates: The grid setting allows to sleek the detailing elements to position. The coordinates can be cartesian (following X and Y) or polar (radial and angular steps). Enter corresponding values.

       

      • Rotation angle:

 

Allows you to rotate the view this the entered angle..

 

      • Set view upright:

 

This mode allows you to set the section upright regarding the main view.

 

      • Lock alignment:

 

This mode active by default allows forcing the alignment of the view in relation to its reference view. Deactivating this mode allows the view to be freely positioned.

 

 

Modifications:

 

The use of the right button on a cross section allows: